Tracker GPS

Aparatura pokładowa, układy pomiarowe i wykonawcze.
Awatar użytkownika
lagozaur
***
Posty: 79
Rejestracja: piątek, 23 sie 2019, 19:56
Kontakt:

Tracker GPS

Post autor: lagozaur »

Cześć!
Od jakiegoś czasu na Discordzie pojawiały się informacje o trackerze. Jest to część projektu komputera pokładowego PTRu, gdzie tworzymy elektronikę do rakiet która używa wspólnego, ustandaryzowanego oprogramowania. Tracker jest bardzo prostym urządzeniem, ale używa tego samego standardu telemetrii co KPPTR. To oznacza że wszystkie urządzenia mogą używać tej samej stacji naziemnej.
PXL_20230412_113201721.jpg
PXL_20230412_113201721.jpg (215.71 KiB) Przejrzano 14015 razy
Pomysł na trackera był mocno inspirowany tym co UWS zrobił dla odzyskiwania rakiet w Polsce. Prostota i niski koszt urządzenia sprawia że bardzo duży % rakiet u nas posiada elektroniczny odzysk. Tracker ma zrobić to samo jeśli chodzi o odnajdywanie naszych modeli. Jest idealnym zamiennikiem radiosondy RS41, która już nie jest produkowana i z dostępnością jej jako GPS może być słabo. Jest fajną opcją dla każdego kto chce ułatwić sobie poszukiwanie rakiety.

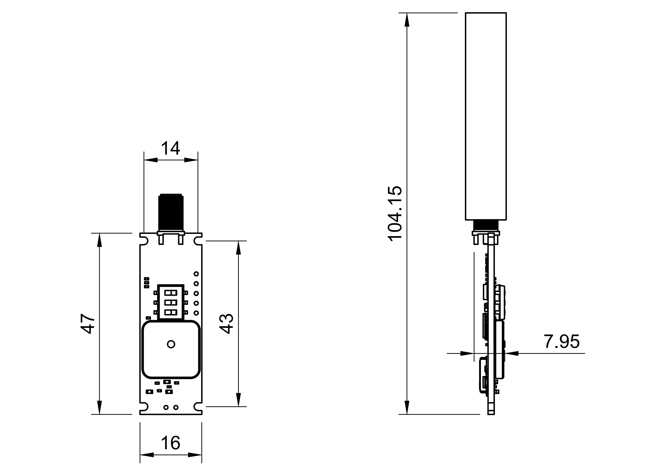
Na płytce 16x47mm znajduje się GPS, mikrokontroler oraz układ radiowy pracujący z modulacją LoRa na paśmie 430-440MHz, o maksymalnej mocy 150mW. Na pokładzie są 3 przełączniki DIP do wyboru spośród 4 zaprogramowanych kanałów. Płytka ma wyprowadzone piny do programowania, a kod i schematy będą udostępnione tak jak reszta projektu KPPTR. Do opcjonalnej konfiguracji wystarczy programator STM (dodatkowe częstotliwości, odstęp między ramkami, moc nadawania, itd). Do odbioru wystarczy płytka TTGO z oprogramowaniem stacji naziemnej KPPTR (kod będzie udostępniony i można wgrać za pomocą kabla USB).
PXL_20230416_153515262.jpg
PXL_20230416_153515262.jpg (420.5 KiB) Przejrzano 14015 razy
image_2023-05-02_232913370.png
image_2023-05-02_232913370.png (72.74 KiB) Przejrzano 14015 razy
Oprogramowanie jest prawie gotowe. Urządzenie działa i przesyła telemetrię, jednak nie miałem jeszcze okazji przetestować w rakiecie. Układy mogę zacząć rozsyłać najwcześniej w lipcu, i do tego czasu całość będzie w pełni dopracowana i udokumentowana.

Zapraszam do zgłoszenia zainteresowania takim urządzeniem https://forms.gle/P1Qswjyc5yo3uEq88
tadeusz
PROFI
Posty: 412
Rejestracja: niedziela, 30 sty 2011, 18:31
Lokalizacja: Poznań

Re: Tracker GPS

Post autor: tadeusz »

Czy oprócz pozycji będą wysyłane inne dane/np.wysokość/?
Awatar użytkownika
lagozaur
***
Posty: 79
Rejestracja: piątek, 23 sie 2019, 19:56
Kontakt:

Re: Tracker GPS

Post autor: lagozaur »

Wysokość, napięcie akumulatora, ilość satelitów i jakość fixa i kilka danych dla prawidłowej pracy stacji naziemnej. Mogę też próbkować z czujnika temperatury wbudowanego w procesor, ale nie testowałem jeszcze jak dobrze ten czujnik działa.
tadeusz
PROFI
Posty: 412
Rejestracja: niedziela, 30 sty 2011, 18:31
Lokalizacja: Poznań

Re: Tracker GPS

Post autor: tadeusz »

Dla mnie ważne są pozycja i wysokość.Nie wszystkie rakiety da się odzyskać (np.te,które spadną do wody,w bagno
lub na niedostępny teren).W takim przypadku ważny jest dokładny odczyt wysokości maksymalnej żeby porównać
ją z założeniami.Kolega nie dopatrzył się na płytce czujnika ciśnienia stąd moje obawy o dokładność pomiaru.
Awatar użytkownika
lagozaur
***
Posty: 79
Rejestracja: piątek, 23 sie 2019, 19:56
Kontakt:

Re: Tracker GPS

Post autor: lagozaur »

To prawda, na ma barometru. Wysokość z GPS nie jest dokładna, no ale będzie przesyłana. Urządzenie miało posiadać minimum zestaw komponentów potrzebny do odnalezienia rakiety. W moim odczuciu, barometr nie był konieczny do spełnienia tego zadania.
-mx-
**
Posty: 46
Rejestracja: czwartek, 7 sty 2021, 12:59

Re: Tracker GPS

Post autor: -mx- »

Dlaczego zdecydowaliście się na częstotliwość 433 MHz? Raczej 150mW na tym zakresie to za dużo, a do tego dobre anteny są dość spore. Czy będzie pomiar prędkości? Z jaką częstotliwością jest odświeżana pozycja gps?
Awatar użytkownika
AdrianOZW
**
Posty: 53
Rejestracja: piątek, 14 sty 2022, 12:09

Re: Tracker GPS

Post autor: AdrianOZW »

Świetna rzecz.
Jak wygląda odczyt/ odbiór danych w terenie?
Awatar użytkownika
Bdabrowski
****
Posty: 155
Rejestracja: wtorek, 30 paź 2018, 19:29
Lokalizacja: Białystok, Warszawa

Re: Tracker GPS

Post autor: Bdabrowski »

Jak wygląda odczyt/ odbiór danych w terenie?
Przepraszam ale się wtrącę, odbiór danych będzie zgodny ze standardem KPPTR czyli będą kompatybilne. Do odbioru trackera wystarczy dowolne urządzenie z radiem LoRa np. TTGO (https://pl.aliexpress.com/item/32875743018.html) na które jest przygotowane oprogramowanie pozwalające na dobieranie takich danych i wyświetlanie ich na ekranie wraz z odległością od rakiety lub wysyłanie na telefon poprzez BT. Dodatkowo stacja odbiorcza zapisuje wysłaną telemetrię, którą można potem pobrać przez wifi.
Tak wygląda przykładowe TTGO z oprogramowaniem pod tracker/kpptr:
Zrzut ekranu (374).png
Zrzut ekranu (374).png (821.37 KiB) Przejrzano 13901 razy
I took ballistics in school. Fascinating subject. Things go up, things go down.
Awatar użytkownika
AdrianOZW
**
Posty: 53
Rejestracja: piątek, 14 sty 2022, 12:09

Re: Tracker GPS

Post autor: AdrianOZW »

"The future is now, old man". Dzięki za odpowiedź. Będzie możliwość zakupu całości jako zestawu nadajnik-odbiornik, czy tylko sam tracker?
Awatar użytkownika
lagozaur
***
Posty: 79
Rejestracja: piątek, 23 sie 2019, 19:56
Kontakt:

Re: Tracker GPS

Post autor: lagozaur »

AdrianOZW pisze: piątek, 5 maja 2023, 19:29 "The future is now, old man". Dzięki za odpowiedź. Będzie możliwość zakupu całości jako zestawu nadajnik-odbiornik, czy tylko sam tracker?
Nie, u mnie będzie dostępny tylko tracker. Tych płytek TTGO jest cała masa, sam mam biedną wersję bez GPS. Ale polecam wziąć te fajniejszą wersje z GPS. Tam jest od razu miejsce na akumulator 18650 i wbudowana ładowarka. No i z GPSem można wykorzystać pełną funkcjonalność oprogramowania stacji naziemnej które przygotowali koledzy.
image_2023-05-05_213335549.png
image_2023-05-05_213335549.png (842.49 KiB) Przejrzano 13881 razy
-mx- pisze: piątek, 5 maja 2023, 06:02 Dlaczego zdecydowaliście się na częstotliwość 433 MHz? Raczej 150mW na tym zakresie to za dużo, a do tego dobre anteny są dość spore. Czy będzie pomiar prędkości? Z jaką częstotliwością jest odświeżana pozycja gps?
Zgadzam się z tobą że 433 to nie jest optymalne pasmo, gdybym mógł to zrobiłbym na 868. No ale część osób u nas używała przerobionych radiosond które nadają na tym paśmie i już mają anteny pod to. Poza tym na 70cm można dostać fajne lekkie yagi za 30zł. Te anteny są trochę bardziej uniwersalne. Poza tym, chyba każdy ręczny radiotelefon obsługuje pasmo 70cm, więc jest możliwość zrobienia radionamiaru z łatwodostępnego sprzętu jakby była taka potrzeba. Co do mocy, to "z fabryki" płytki będą nadawać z mocą 10mW. Na płytce jest zworka oznaczona symbolem pirackiej czaszki, przecięcie jej zwiększy moc nadawania do pełnej mocy 150mW.
ODPOWIEDZ